Document revision date: 28 June 1999
[Compaq] [Go to the documentation home page] [How to order documentation] [Help on this site] [How to contact us]
[OpenVMS documentation]

Extensible Versatile Editor Reference Manual


Previous Contents Index

SET KEYPAD EDT does not completely emulate EDT. Table 2-12 explains the important differences between the EVE EDT keypad and the VAX EDT keypad.

Table 2-12 EVE Differences with SET KEYPAD EDT
EVE Keys or Function Difference From VAX EDT
PF1 GOLD. The EDT keypad makes PF1 the GOLD key, overriding any current definition of PF1. However, if you set a different key as GOLD, the EDT keypad uses your GOLD key without redefining PF1. The EDT keypad also defines the EVE default GOLD key sequences, such as GOLD-Find. See the description of the SET GOLD KEY command.
GOLD-PF2 HELP KEYS. Displays a list of all defined keys.
KP1 MOVE BY WORD. Uses slightly different word boundaries from EDT. In EVE, a "word" includes the trailing white space (spaces or tabs).
GOLD-KP7 DO. Enters an EVE command. EVE does not support or emulate EDT line-mode or "nokeypad" commands.
GOLD-KP8 FILL. Reformats the current paragraph, range, or box. If you want the key to fill only a range or box, redefine GOLD-KP8 as FILL RANGE. EVE paragraph boundaries are different (see the description of the FILL command.)
ENTER RETURN. Terminates a command or starts a new line. You can redefine ENTER, but you cannot redefine RETURN or Ctrl/M.
Ctrl/C Usually halts an operation, such as a repeat or global replace. However, if you are using keystroke journaling (instead of buffer-change journaling), Ctrl/C is not recorded in the journal file. After using Ctrl/C, you should immediately exit to save your edits; otherwise, if the system fails, you may not be able to recover your work. This restriction does not apply to buffer-change journaling, which is the EVE default.
Ctrl/K LEARN. Starts a learn sequence so you can bind several keystrokes (commands, text, or both) to a single key.
Ctrl/R REMEMBER. Ends a learn sequence and prompts you to press the key you want to define for it. EVE defines Ctrl/W as REFRESH.
Ctrl/Z EXIT. Ends the editing session and writes out the current buffer and asks whether to write out any other buffers if they were modified. To emulate EDT-style exit-to-line-mode, redefine Ctrl/Z as DO.
F12
Ctrl/H
BACKSPACE
EDT Backspace. The command SET FUNCTION KEYS DECWINDOWS overrides the EDT definition, redefining F12 as START OF LINE (the EVE command), which is slightly different from the EDT definition.
Cursor By default EVE uses a free cursor, which you can move anywhere in the buffer regardless of the shape of your text. To enable an EDT-style bound cursor, use SET CURSOR BOUND. The EDT Character key (KP3) uses bound-cursor motion even if the cursor is set to free.
Exiting EXIT creates a new file (or new version of a file) only if you made changes to the buffer and have not yet written it out. QUIT discards your edits, but if you made changes to the buffer, EVE asks you to confirm that you want to quit. Also, on exiting or quitting, if you changed attributes and have not saved them, EVE asks if you want to save the changes.
Input file When you invoke EVE, if you do not specify a file on the command line, EVE creates an empty buffer named MAIN, whereas VAX EDT prompts you to specify a file. Also, you can use wildcards to specify the file, for example, *.TXT.
Journaling By default, EVE uses buffer-change journaling, which creates a journal file for each text buffer. You can recover buffers individually and even from different editing sessions. You can also use keystroke journaling and recovery, similar to that in EDT.
Mode Some commands or keys depend on the mode of the buffer---insert or overstrike, for example, the EDT Delete Character and EDT SpecIns keys.
Paste buffer Commands or keys to copy, cut, and paste text use either the INSERT HERE buffer or the DECwindows clipboard, depending on your setting. See the description of the SET CLIPBOARD command.
Scrolling SET SCROLL MARGINS corresponds to SET CURSOR in VAX EDT, except EVE scroll margins are measured from the top and the bottom, respectively. For example, with a 24-line screen (21-line main window), SET SCROLL MARGINS 5 6 is equivalent to SET CURSOR 5:15 in VAX EDT. The default settings are 0 0 (scrolling begins when you move past the top or bottom of the window).
Searches Searches follow EVE rules for case sensitivity and direction (see help on FIND). Because EVE does not treat RETURN and ENTER differently, as EDT does, search strings cannot contain a carriage return. However, you can use WILDCARD FIND for these searches, or use SET FIND WHITESPACE to enable searching across line breaks.
Selections Commands or keys that work on a standard linear range also work on a box. For example, you can use BOX SELECT and the EDT ChngCase key.
Shift right SHIFT RIGHT and SHIFT LEFT move the window right and left relative to the buffer; the EDT "nokeypad" commands SHL and SHR move the buffer relative to the window. Thus, in EVE, SHIFT RIGHT 8 is equivalent to SHL in EDT and column 9 of your text appears in the leftmost column of the screen.
Startup file By default, EVE tries to execute an initialization file named EVE$INIT.EVE, looking first in your current directory and, if necessary, in SYS$LOGIN. This is roughly equivalent to using an EDTINI.EDT file with VAX EDT.

For information on converting from EDT to EVE, read the online help topic on EDT Conversion.

Related Commands


SET KEYPAD NOEDT


Format

SET KEYPAD NOEDT


Description

The SET KEYPAD NOEDT command disables (undefines) the EDT keypad, restoring the default keypad for the type of terminal you are using. SET KEYPAD NOEDT is the same as SET KEYPAD NUMERIC or SET KEYPAD VT100, depending on the type of terminal you are using.

Keys defined with DEFINE KEY, LEARN, or SET GOLD KEY commands remain defined. However, any learn sequences that use EDT keys will not work properly because the keys are now undefined or defined differently. SET KEYPAD NOEDT cancels the current GOLD key if it was set by enabling the EDT keypad; it does not cancel the GOLD key if you set it with the SET GOLD KEY command.

Related Commands


SET KEYPAD NOWPS


Format

SET KEYPAD NOWPS


Description

The SET KEYPAD NOWPS command disables (undefines) the WPS keypad, restoring the default keypad for the type of terminal you are using. SET KEYPAD NOWPS is the same as SET KEYPAD NUMERIC or SET KEYPAD VT100, depending on the type of terminal you are using.

Keys defined with DEFINE KEY, LEARN, or SET GOLD KEY commands remain defined. However, any learn sequences that use WPS keys will not work properly because the keys are now undefined or defined differently. SET KEYPAD NOWPS cancels the current GOLD key if it was set by enabling the WPS keypad; it does not cancel the GOLD key if you set it with the SET GOLD KEY command.

Disabling the WPS keypad does not restore free cursor motion. To restore free cursor motion, use the SET CURSOR FREE command.

Related Commands


SET KEYPAD NUMERIC


Format

SET KEYPAD NUMERIC


Description

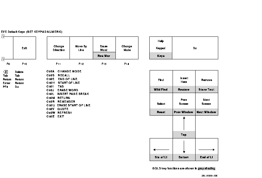
The SET KEYPAD NUMERIC command sets the numeric keypad to the default state, canceling the current keypad setting (EDT, VT100, or WPS). SET KEYPAD NUMERIC is the default except on VT100-series terminals. The command is not valid on VT100-series terminals. Figure 2-1 shows the EVE default keypad.

Using SET KEYPAD NUMERIC to cancel the EDT, WPS, or VT100 keypad does not affect keys defined with DEFINE KEY, LEARN, or SET GOLD KEY commands. However, any learn sequences that use EDT or WPS keys will not work properly because the keys are now undefined or defined differently. SET KEYPAD NUMERIC cancels the current GOLD key if it was set by the EDT or WPS keypad; it does not cancel the GOLD key if you set it with the SET GOLD KEY command.

Figure 2-1 EVE Default Keys


Related Commands


SET KEYPAD VT100


Format

SET KEYPAD VT100


Description

The SET KEYPAD VT100 command enables the VT100-style keypad and cancels the current keypad setting (EDT, NUMERIC, or WPS). This is the default setting on VT100-series terminals. Figure 2-2 shows the EVE default keys on VT100-series terminals.

Using SET KEYPAD VT100 to cancel the EDT, WPS, or VT100 keypad does not affect keys defined with DEFINE KEY, LEARN, or SET GOLD KEY commands. However, any learn sequences that use EDT or WPS keys will not work properly because the keys are now undefined or defined differently. SET KEYPAD VT100 cancels the current GOLD key if it was set by the EDT or WPS keypad.

If you want the VT100 keypad enabled for all or most editing sessions---even if you run EVE on VT300- or VT200-series terminals---do either of the following:

Figure 2-2 EVE Default Keys on VT100-Series Terminals


Related Commands


SET KEYPAD WPS


Format

SET KEYPAD WPS


Description

The SET KEYPAD WPS command enables the WPS-style keypad, defines the numeric keypad and other keys, and sets the cursor to bound. There are three ways to keep the WPS keypad for future editing sessions:

Table 2-13 lists the keys defined when you use SET KEYPAD WPS, including any EVE default keys still in effect. If you use DEFINE KEY or LEARN to define any keys, your definitions override the EVE or WPS definitions.

Table 2-13 EVE Keys Defined with SET KEYPAD WPS
WPS Keys Defined Keys
F10 EXIT
F11 CHANGE DIRECTION
F12 MOVE BY LINE (Using SET FUNCTION KEYS DECWINDOWS defines F12 as START OF LINE.)
F13 WPS Delete Previous Word
GOLD-F13 WPS Delete Beginning Sentence
F14 CHANGE MODE
HELP HELP KEYPAD (diagram)
GOLD-Help HELP KEYS (list)
DO DO
FIND FIND
GOLD-Find WILDCARD FIND
Insert Here WPS Paste
GOLD-Insert Here RESTORE
REMOVE WPS Cut
GOLD-Remove STORE TEXT
SELECT SELECT
GOLD-Select RESET
PREV SCREEN PREVIOUS SCREEN
GOLD-Prev Screen PREVIOUS WINDOW
NEXT SCREEN NEXT SCREEN
GOLD-Next Screen NEXT WINDOW
<uparrow symbol> MOVE UP
GOLD-<uparrow symbol> TOP
<- MOVE LEFT
GOLD- <- START OF LINE
<downarrow symbol> MOVE DOWN
GOLD-<downarrow symbol> BOTTOM
-> MOVE RIGHT
GOLD--> END OF LINE
PF1 GOLD (unless you specified a different key with SET GOLD KEY)
PF2 MOVE BY PAGE
GOLD-PF2 PAGINATE
PF3 WPS Delete Word
GOLD-PF3 RESTORE
PF4 WPS Delete Character
GOLD-PF4 RESTORE
KP0 WPS Advance
GOLD-KP0 WPS Scroll Advance
KP1 WPS Backup
GOLD-KP1 WPS Scroll Backup
KP2 WPS Line
GOLD-KP2 WPS Line
KP3 WPS Uppercase
GOLD-KP3 WPS Lowercase
KP4 WPS Word
GOLD-KP4 WPS Word
KP5 WPS Paragraph
GOLD-KP5 FILL
KP6 (not defined)
GOLD-KP6 (not defined)
KP7 WPS Sentence
GOLD-KP7 WPS Sentence
KP8 WPS Tab Position
GOLD-KP8 (not defined)
KP9 (not defined)
GOLD-KP9 (not defined)
MINUS WPS Cut
GOLD-MINUS WPS Copy
COMMA WPS Paste
GOLD-COMMA WPS Paste
PERIOD SELECT
GOLD-PERIOD RESET
ENTER WPS Search Right Angle (<>)
GOLD-ENTER WPS Swap
Ctrl/A CHANGE MODE
Ctrl/B RECALL
Ctrl/E END OF LINE
Ctrl/H or BACKSPACE START OF LINE
Ctrl/I or TAB TAB
Ctrl/J or LINEFEED WPS Delete Previous Word
GOLD-Ctrl/J or
GOLD-LINEFEED
WPS Delete Beginning Sentence
Ctrl/K LEARN
Ctrl/L INSERT PAGE BREAK
Ctrl/M or RETURN RETURN
Ctrl/R REMEMBER
Ctrl/U ERASE START LINE
Ctrl/V QUOTE
Ctrl/W REFRESH
Ctrl/Z EXIT
DELETE or < X| DELETE
GOLD-DELETE
or GOLD-< X|
WPS Delete Start Line
GOLD-1 ... GOLD-9 REPEAT 1 ... REPEAT 9, or to specify a WPS-style alternate paste buffer
GOLD-B BOTTOM
GOLD-C CENTER LINE
GOLD-F EXIT
GOLD-G INCLUDE FILE
GOLD-H HELP KEYPAD (diagram)
GOLD-K QUIT
GOLD-N INSERT PAGE BREAK
GOLD-P WPS Page Marker
GOLD-R WPS Ruler
GOLD-S SPELL
GOLD-T TOP
GOLD-W WRITE FILE
GOLD-` (grave accent) WPS Halt
GOLD-$ SPAWN
GOLD-[ (left bracket) DO
GOLD-: REPLACE
GOLD-; REPLACE
GOLD-' WPS Replace
GOLD-" WPS Replace
GOLD-\ (backslash) WPS Insert Date/Time
GOLD-| WPS Insert Date/Time
GOLD-> (right angle) LEARN
GOLD-, (comma) FIND
GOLD-. (period) WPS Continue Search
GOLD-/ (slash) WPS Continue Search/Select
GOLD-? WPS Continue Search/Select

SET KEYPAD WPS provides most WPS key functions but does not fully emulate WPS. Table 2-14 explains the important differences between the WPS keypad in EVE and WPS-PLUS.

Table 2-14 EVE Differences with SET KEYPAD WPS
EVE Key or Function Difference from WPS-PLUS
PF1 GOLD. The WPS keypad makes PF1 the GOLD key, overriding any current definition of PF1. However, if you set a different key as GOLD, the WPS keypad uses your GOLD key without redefining PF1. The WPS keypad also defines the EVE default GOLD key sequences, except GOLD-F13 is defined as the Delete Beginning Sentence key.
GOLD-PF3
GOLD-PF4
RESTORE. Reinserts the line, word, or sentence you last erased. Depending on the version of WPS you are accustomed to, you may want to redefine these keys as RESTORE WORD and RESTORE CHARACTER, respectively.
PF2 MOVE BY PAGE. Moves to the next or previous page break.
GOLD-PF2 PAGINATE. Inserts a "soft" page break (FF NL ) for a 54-line page.
GOLD-C CENTER LINE. Centers the current line between the left and right margins by adding spaces at the start of the line. Does not leave a centering mark.
GOLD-F
Ctrl/Z
F10
EXIT. Ends the editing session, writes out the current buffer, and asks whether to write out any other buffers if they were modified. Exiting does not delete the old version of the input file. If you have made no changes to the buffer, EXIT is the same as QUIT.
F11 CHANGE DIRECTION. Switches the direction of the buffer from forward to reverse or conversely. EVE does not implement an ALT CHAR key.
F12 MOVE BY LINE. Moves the cursor a line at a time in the current direction of the buffer. SET FUNCTION KEYS DECWINDOWS defines F12 as START OF LINE. EVE does not implement WPS-style hyphenation.
SELECT
PERIOD
With the WPS keypad, selecting text by pressing SELECT on the minikeypad or PERIOD on the numeric keypad also sets the direction of the buffer to forward. The direction does not change if you type the SELECT command or if you use the mouse to select text.
GOLD-[ DO. Enters an EVE command.
GOLD-G INCLUDE FILE. Inserts the text of a specified file. In EVE, the GET FILE command lets you create or edit another file in the same editing session.
GOLD-N
Ctrl/L
INSERT PAGE BREAK. Inserts a "hard" page break---a form feed (FF )---on a line by itself.
GOLD-P WPS Page Marker. Inserts a "soft" page break---a form feed and null character (FF NL )---on a line by itself.
GOLD->
Ctrl/K
Starts a learn sequence so you can bind several keystrokes to a single key. To end the learn sequence, press Ctrl/R (defined as REMEMBER) or press the WPS Halt key (GOLD-`).
Ctrl/C Usually halts an operation, such as a repeat or global replace. However, if you are using keystroke journaling (instead of buffer-change journaling), Ctrl/C is not recorded in the journal file. If you use Ctrl/C, you should immediately exit to save your edits; otherwise, if the system fails, you may not be able to recover your work. This restriction does not apply with buffer-change journaling, which is the EVE default.
Case-change
continuation
With the WPS Uppercase key (KP3) or WPS Lowercase key (GOLD-KP3), if you change the case of a single character (rather than the case of a range or box), you can continue the case change by using the following WPS keys:
  • Word (KP4 or GOLD-KP4)
  • Tab Position (KP8)
  • Line (KP2 or GOLD-KP2)
  • Sentence (KP7 or GOLD-KP7)
  • Paragraph (KP5)
  • Page (PF2)
  • Bottom (GOLD-B)
  • Top GOLD T

To cancel this effect (so you can move the cursor without changing case), press any other cursor-movement key, such as <- or the WPS Advance key (KP0).

Copy, cut, and paste EVE commands and WPS keys that work on a standard linear range also work on a box. SET BOX SELECT makes the following WPS keys work like BOX CUT and BOX PASTE:
  • WPS Copy (GOLD-MINUS)
  • WPS Cut (MINUS or REMOVE)
  • WPS Paste (COMMA, GOLD-COMMA, or INSERT HERE)
  • WPS Replace (GOLD-' or GOLD-")

WPS keys do not use the DECwindows clipboard. For example, the WPS Copy, Cut, and Paste keys use the INSERT HERE buffer or an alternate paste buffer (specified by GOLD-1 through GOLD-9). EVE commands and EDT keys use either the clipboard or the INSERT HERE buffer, depending on your setting.

Cursor Setting the WPS keypad automatically sets the cursor to bound. To enable a free cursor, which can move anywhere in the buffer, use SET CURSOR FREE, which is otherwise the EVE default.
Paragraphs Paragraph boundaries for FILL (GOLD-KP5) or the WPS Paragraph key (KP5) are any of the following:
  • Blank line
  • Top or bottom of the buffer
  • Page break (form feed at start of line)
  • RUNOFF command (such as .BREAK) at start of line
  • VAX DOCUMENT tag (such as <LE>) at start of line
Rulers When you use the WPS Ruler key GOLD R, only one ruler can be active at a time. Rulers cannot be embedded in a document. Setting the margins or paragraph indent does not automatically rewrap or reformat text. Rulers do not have the following:
  • C centering point
  • H hyphenation zone
  • . decimal tab
  • > right-justified tab

For a list of the keys you can use with the ruler, see Table 2-15.

Scrolling Scrolling with WPS keys is halted when you press any key---not just the WPS Halt key (GOLD-`). Pressing a key to stop scrolling executes whatever function is assigned to that key.
Searches Searches follow EVE rules for case sensitivity and direction. See the description of the FIND command.
Sentences Sentence boundaries for the WPS Sentence key (KP7 or GOLD-KP7) and Delete Beginning Sentence key (GOLD-F13, GOLD-Ctrl/J, or GOLD-LINEFEED) are periods, question marks, or exclamation points. Periods in RUNOFF (DSR) commands or in decimal numbers are treated as sentence boundaries.


Previous Next Contents Index

  [Go to the documentation home page] [How to order documentation] [Help on this site] [How to contact us]  
  privacy and legal statement  
6021PRO_011.HTML