Document revision date: 28 June 1999
[Compaq] [Go to the documentation home page] [How to order documentation] [Help on this site] [How to contact us]
[OpenVMS documentation]

OpenVMS I/O User's Reference Manual


Previous Contents Index

Note

The EL is the emulated LAN device associated with the parent ATM device.

9.2.3 Supported Industry Standards

CSMA/CD drivers support the following features:

FDDI drivers support the following features:

Token Ring drivers support the following features:

ATM drivers over ELAN support the following features:

All LAN drivers support the following features:

Contrary to the IEEE 802.2 Standard, the Global DSAP (FF) must be enabled as a Group SAP to receive messages with the Global DSAP in the destination SAP field.

FDDI conforms to the ANSI Standards defined in the following documents:

9.3 LAN Controller Characteristics

System software and user applications communicate with other systems through the LAN controllers using the QIO interface defined by the OpenVMS LAN driver software. The description of this interface is described later in this chapter. The LAN driver software allows communication with these differing technologies in a consistent manner.

The LAN controllers implement the Ethernet, FDDI, Token Ring, and ATM specifications. The Ethernet specification is described in The Ethernet-Data Link Layer and Physical Specification. The FDDI specifications are available from ANSI. The Token Ring specifications are available from IEEE. The ATM LAN Emulation specifications are available from the ATM Forum.

Ethernet includes Fast Ethernet (802.3u) and Gigabit Ethernet (802.3z). See Section 9.4 and Section 9.5 for more information.

Ethernet, FDDI, Token Ring, and ATM networks can be configured to form a single extended LAN using FDDI-Ethernet bridges, FDDI and Ethernet switches, Token Ring bridges and routers, and ATM switches. This allows applications running on a system connected by a LAN controller of one technology to communicate with applications running on another system connected by a different type of LAN controller.

9.4 Fast Ethernet LANs (Alpha Only)

Fast Ethernet (802.3u) is an extension of the IEEE 802.3 standard. It typically runs over twisted-pair wiring (100BaseT). It increases the data transmission rate from 10 to 100Mbps and decreases the maximum length of a network segment. Fast Ethernet controllers allow either 10 or 100Mbps operation for compatibility with existing 10Mbps controllers on the same network segment. The DE500-FA Fast Ethernet controller provides a fiber-optic connection (100BaseFX).

Table 9-3 shows the types of cabling used for Fast Ethernet.

Table 9-3 Fast Ethernet Cabling
Cable Description
100BaseTX Works with twisted-pair cabling standards. It provides full-duplex performance with network servers, using only two of the four pairs of wires.
100BaseT4 Works with twisted-pair cabling standards. It uses four pairs of wiring with one pair for transmission, another for reception, and two pairs that can be used to either transmit or receive data. It does not support full-duplex operations.
100BaseFX Uses fiber optic cabling. Used mainly for backbones by connecting Fast Ethernet repeaters placed around a building. It gives protection from electromagnetic noise and increases security. It also allows longer distances between network devices.

The OpenVMS operating system supports the following Fast Ethernet adapters on Alpha PCI-based systems:

9.5 Gigabit Ethernet LANs (Alpha Only)

Gigabit Ethernet (802.3z) is an extension of the IEEE 802.3 standard. It runs over fiber-optic cabling and twisted-pair wiring. It increases the data transmission rate to 1000Mbps. The frame formats are identical to Ethernet and Fast Ethernet which allows good interoperability across these technologies. Gigabit Ethernet is suitable as a high-speed backbone interconnect but may be used to connect high-performance workstations or systems that need the increased bandwidth.

Table 9-4 shows the types of cabling used for Gigabit Ethernet.

Table 9-4 Gigabit Ethernet Cabling
Cable Description
1000Base-SX Works with fiber optic cabling. Used mainly for shorter backbone applications. With multimode, it supports distances of up to 550 meters.
1000Base-LX Works with fiber optic cabling. Used mainly for longer single-mode building of fiber backbones and single-mode campus backbones. With single mode, it supports distances of up to 5 kilometers.
1000Base-CX Works with shielded copper cabling. Used mainly for interconnection of equipment clusters where the physical interface is short. It supports, for example, a switching closet or computer room with interconnections to 25-meter distances.
1000BaseT Works with unshielded copper cabling. Used mainly for horizontal copper cabling applications. It supports a signal transmission over four pairs of category 5 unshielded twisted pair (UTP), covering distances up to 100 meters, or networks with a diameter of 200 meters.

OpenVMS supports the DEGPA Gigabit Ethernet LAN controller on Alpha PCI-based systems.

9.6 LAN ATM Network Support (Alpha Only)

LAN ATM implements LAN emulation and Classical IP over an ATM network. The following sections present LAN emulation features, components, and topology.

9.6.1 LAN Emulation over an ATM Network (Alpha Only)

OpenVMS supports LAN emulation for Ethernet over asynchronous transfer mode (ATM) networks. ATM is a switched, connection-oriented mode of transfer, unlike Ethernet which is a shared, connectionless protocol medium.

The ATM protocol communicates by first establishing endpoints between two computers with a virtual circuit (VC) through one or more ATM switches. ATM then provides a physical path for data flow between the endpoints by either a permanent virtual circuit (PVC), or a switched virtual circuit (SVC).

Permanent Virtual Circuits (PVCs)

Permanent Virtual Circuits are set up and torn down by prior arrangement. They are established manually by a user before the sending of any data between endpoints on a network. Some PVCs are defined directly on the switch; others are predefined for use in managing switched virtual circuits (SVCs).

Switched Virtual Circuits (SVC)

Switched virtual circuits require no operator interaction to create and manage connections between endpoints. Software sets up and tears down connections dynamically as they are needed through the request of an endpoint.

9.6.1.1 LAN Emulation Components (Alpha Only)

LAN emulation over an ATM network allows existing applications to run essentially unchanged while also allowing the applications to run on computers directly connected to the ATM network. The LAN emulation hides the underlying ATM network at the media access control (MAC) layer, which provides device driver interfaces.

Table 9-5 shows the four components that make up a LAN emulation over ATM network. Of the four components, OpenVMS supports only the LAN emulation client (LEC).

Table 9-5 Components of LAN Emulation over ATM Network
Component Function
LAN emulation client (LEC) Provides a software driver that runs on a network client and enables LAN clients to connect to an ATM network.
LAN emulation server (LES) Maintains a mapping between LAN and ATM addresses by resolving LAN media access control (MAC) addresses with ATM addresses.
Broadcast and Unknown Server (BUS) Maintains connections with every LAN emulation client (LEC) in the network. For broadcast messages, the BUS sends messages to every attached LEC. The LECs then forward the message to their respectively attached LANs. For multicast messages, the BUS sends messages to only those LECs that have devices in the multicast group. For a LEC that wants to send a regular message whose destination MAC address is unknown, the BUS can be used to determine this address.
LAN emulation Configuration Server (LECS) Provides a service for LAN emulation clients by helping to determine which emulated LAN each of the LEC's registered users should join, since each client can specify which emulated LAN to join.

The LEC exists on all ATM-attached computers that participate in the LAN emulation configuration. LEC provides the ATM MAC-layer connectionless function that is transparent to the LAN-type applications. The LEC, LES, and BUS can exist on one ATM-attached computer or on separate computers. The server functions usually reside inside an ATM switch, but can be implemented on client systems.

9.6.1.2 LAN Emulation Topology (Alpha Only)

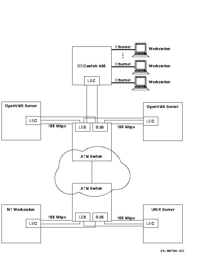
Figure 9-1 shows the topology of a typical emulated LAN over ATM.

Figure 9-1 Emulated LAN Topology


9.6.2 Classical IP Over an ATM Network (Alpha Only)

Classical IP (CLIP) implements a new data-link level device that has the same semantics as an Ethernet interface (802.3). This interface is used by a TCP/IP protocol to transmit 802.3 (IEEE Ethernet) frames over an ATM network. The model that OpenVMS Alpha follows for exchanging IP datagrams over ATM is based on RFC 1577 (Classical IP over ATM).

For information on using LANCP commands to manage Classical IP, see the OpenVMS System Management Utilities Reference Manual: A--L.

9.7 Supporting and Configuring LAN Emulation over ATM (Alpha Only)

OpenVMS provides LAN Emulation Client (LEC) support over three ATM LAN devices: ATMworks 350, ATMworks 351, and ATMworks 750. The LAN Emulation Client software supports IEEE/802.3 Emulated LANs, and UNI 3.0 or UNI 3.1. It also supports the maximum frame sizes of 1516, 4544, and 9234 bytes.

The ATMworks 350 is a 155 megabits per second (Mb/s) ATM device for PCI-bus systems. SYS$HWDRIVER.EXE provides support for this adapter.

The ATMworks 351 is a 155 megabits per second (Mb/s), full-duplex ATM device that enables systems with peripheral component interconnect (PCI) slots to communicate over an ATM network. The ATMworks 351 driver is supported by the SYS$ATMWORKS351 port driver which has a device name HWcu, where c is the controller and u is the unit number, as for example, HWA0.

The ATMworks 750 is a 155 Mb/s ATM device for Turbochannel systems with the exception of the DEC 3000-300. SYS$HCDRIVER.EXE provides support for this adapter.

SYS$ELDRIVER.EXE provides the Emulated LAN support, and it provides the means for communicating over the LAN ATM. The device type for the Emulated LAN device is DT$_EL_ELAN.

The device name for the Emulated LAN is:


        ELcu 
 
    where c is the controller and u is the unit number (for example, ELA0). 
 

9.7.1 Enabling SONET/SDH (Alpha Only)

The ATM drivers have the capability of operating with either synchronous optical network (SONET) or synchronous digital hierarchy (SDH) framing. Setting the SYSGEN parameter, LAN_FLAGS, to 1 enables SDH framing. Setting bit 0 of the SYSGEN parameter, LAN_FLAGS, to 0 enables SONET framing (default). For this to take affect, the SYSGEN parameter must be specified correctly before the ATM adapter driver is loaded.

9.7.2 Booting (Alpha Only)

OpenVMS Alpha does not support ATM adapters as boot devices.

9.7.3 Configuring an Emulated LAN (ELAN) (Alpha Only)

The LANCP utility sets up an Emulated LAN (ELAN). If the ELAN is defined in the permanent database, these settings take affect at boot time. To define the commands in the permanent database for specific adapters, you invoke the DEFINE DEVICE commands. Once these commands define the adapters in the permanent database, the ELAN can be started during system startup.

You can also invoke the LANCP SET commands to start up an ELAN after the system is booted.

The following example shows the DEFINE DEVICE commands that define the adapter in the permanent database.


$ mcr lancp 
LANCP> define device ela0/elan=create 
LANCP> define device ela0/elan=(parent=hwa0,type=csmacd,size=1516) 
LANCP> define device ela0/elan=(descr="An ATM ELAN") 
LANCP> define device ela0/elan=enable=startup 
LANCP> list dev ela0/param 
 
Device Characteristics, Permanent Database, for ELA0: 
                  Value  Characteristic 
                  -----  -------------- 
                   HWA0  Parent ATM device 
          "An ATM ELAN"  Emulated LAN description 
                   1516  Emulated LAN packet size 
                CSMA/CD  Emulated LAN type 
                    Yes  Emulated LAN enabled for startup 
LANCP> exit 
$ 

The following example shows the SET DEVICE commands required for setting up an ELAN with the desired parameters. Note that some of the commands generate a console message.


$ mcr lancp 
LANCP> set dev ela0/elan=create 
 
%%%%%%%%%%%  OPCOM  26-MAR-1996 16:57:12.89  %%%%%%%%%%% 
Message from user SYSTEM on ALPHA1 
LANACP LAN Services 
Found LAN device ELA0, hardware address 00-00-00-00-00-00 
 
LANCP> set dev ela0/elan=(parent=hwa0,type=csmacd,size=1516) 
LANCP> set dev ela0/elan=(descr="An ATM ELAN") 
LANCP> set dev ela0/elan=enable=startup 
 
%ELDRIVER, LAN Emulation event at 26-MAR-1996 16:57:28.78 
%ELDRIVER, LAN Emulation startup: Emulated LAN 1 on device ELA0 
 
LANCP> sho dev ela/char 
 
   Device Characteristics ELA0: 
                  Value  Characteristic 
                  -----  -------------- 
                 Normal  Controller mode 
               External  Internal loopback mode 
                CSMA/CD  Communication medium 
                     16  Minimum receive buffers 
                     32  Maximum receive buffers 
                     No  Full duplex enable 
                     No  Full duplex operational 
            Unspecified  Line media 
                     10  Line speed (megabits/second) 
                CSMA/CD  Communication medium 
                 "HWA0"  Parent ATM Device 
          "An ATM ELAN"  Emulated LAN Description 
   3999990000000008002B  LAN Emulation Server ATM Address 
   A57E80AA000302FF1300 
                Enabled  Emulated LAN State 
LANCP> exit 
$ 

For information about using LANCP and system manager commands with qualifiers for LAN emulation over ATM networks, see OpenVMS System Management Utilities Reference Manual: A--L, and OpenVMS System Manager's Manual.

9.7.4 Configuring ATM hardware

The following is a specific example of setting up the GIGAswitch/ATM for LAN Emulation (ELAN). The OpenVMS LAN Emulation Client (LEC) software adheres to the ATM forum LAN Emulation V1.0 specification. Hence, it works with any ATM switch that supports the ELAN server software of the LAN emulation server (LES), broadcast and unknown server (BUS), and LAN emulation configuration server (LECS).

For more information about using the GIGAswitch/ATM, see GIGAswitch/ATM System Management Manual.

9.7.4.1 Configuring a GIGAswitch/ATM for ELAN

The GIGAswitch must have its ELAN services enabled before the OpenVMS host can join an ELAN. A LECS, BUS, and a LES must all be started on the GIGAswitch/ATM. By using the GIGAswitch/ATM console, you can log in and verify if the services are enabled, which they are in the following example:


GIGAswitch/ATM login: user 
Password: 
GIGAswitch/ATM-> bus 
               Broadcast and Unknown Server Summary 
     BUS Number          Status               Description 
              1          enabled 
GIGAswitch/ATM-> les 
               LAN Emulation Server Summary 
     LES Number          Status               Description 
              1          enabled 
GIGAswitch/ATM-> elan 
                            LECS Emulated LAN Summary 
  Number   Status    Name                               Default   Type   Size 
       1   enabled                                         *      802.3  1516 
GIGAswitch/ATM-> 

If the services were not enabled, start by enabling the BUS. The following two commands create BUS 1, set the frame size, the ELAN name, and enable it.


GIGAswitch/ATM-> bus 1   
GIGAswitch/ATM-> bus 1 +f 1516   
GIGAswitch/ATM-> bus 1 +n "elan 1" 
GIGAswitch/ATM-> bus 1 -e  

This next set of commands create LES 1, sets the frame size, the ELAN name, assigns BUS 1 to LES 1, and enables it.


GIGAswitch/ATM-> les 1   
GIGAswitch/ATM-> les 1 +f 1516   
GIGAswitch/ATM-> les 1 +n "elan 1" 
GIGAswitch/ATM-> les 1 +bus bus1  
GIGAswitch/ATM-> les 1 -e  

Finally, the LECS is given knowledge of LES 1, the ELAN frame size, the ELAN name, and ELAN 1 is enabled.


GIGAswitch/ATM-> elan 1 
GIGAswitch/ATM-> elan 1 +f 1516 
GIGAswitch/ATM-> elan 1 +n "elan 1" 
GIGAswitch/ATM-> elan 1 +les les1 
   
GIGAswitch/ATM-> elan 1 +u 10   ! max unknown frame count 
GIGAswitch/ATM-> elan 1 +tu 60  ! max unknown frame time 
GIGAswitch/ATM-> elan 1 +tf 4   ! flush time-out 
 
GIGAswitch/ATM-> elan 1 -e 
 

These commands must be executed each time the GIGAswitch/ATM is rebooted unless you store the configuration in NVRAM with the following commands:


GIGAswitch/ATM-> bus 1 +nv 
GIGAswitch/ATM-> les 1 +nv 
GIGAswitch/ATM-> elan 1 +nv 
 

9.7.5 Configuring an Application to Recognize a LAN Device

The following sections show how to make an application program recognize a specific LAN device for LATs, PATHWORKS, UCX, LAST, and DECnet.

9.7.5.1 Configuring a LAT over an Emulated LAN

By default LAT starts on the first adapter it configures. To restrict LAT to a specific device, assign the system logical LAT$DEVICE before executing @SYS$STARTUP:LAT$STARTUP.

9.7.5.2 Configuring PATHWORKS over an Emulated LAN

To use PATHWORKS with the Emulated LAN on OpenVMS Alpha, a logical must be defined before invoking PATHWORKS. This logical must be defined once per system boot before any invocation of PATHWORKS. The following DCL command can be used to define the required logical:


 
 $ DEFINE/SYSTEM NETBIOS$DEVICE ELc0 
          where c is the controller letter (for example, ELA0). 
 

9.7.5.3 Configuring Digital TCP/IP Services over an Emulated LAN

The Emulated LAN is a network device that may not be recognized by the current version of Digital TCP/IP. For Digital TCP/IP to communicate over the Emulated LAN, the device EL must be defined by the following Digital TCP/IP command:


   UCX> DEFINE COMMUNICATION_CONTROLLER ELc0 
        /TYPE=(ETHERNET)/INTERNET_INTERFACE=L 
 
          where c is the controller letter (for example, ELA0). 
 

In the above example, the command creates an LL0 device which an IP address can be assigned.

For more information, see the Digital TCP/IP Services for OpenVMS Management manual.


Previous Next Contents Index

  [Go to the documentation home page] [How to order documentation] [Help on this site] [How to contact us]  
  privacy and legal statement  
6136PRO_029.HTML