Document revision date: 28 June 1999
[Compaq] [Go to the documentation home page] [How to order documentation] [Help on this site] [How to contact us]
[OpenVMS documentation]

Guidelines for OpenVMS Cluster Configurations


Previous Contents Index

A.6.1 Step 1: Meet SCSI Grounding Requirements

You must ensure that your electrical power distribution systems meet local requirements (for example, electrical codes) prior to installing your OpenVMS Cluster system. If your configuration consists of two or more enclosures connected by a common SCSI interconnect, you must also ensure that the enclosures are properly grounded. Proper grounding is important for safety reasons and to ensure the proper functioning of the SCSI interconnect.

Electrical work should be done by a qualified professional. Section A.7.8 includes details of the grounding requirements for SCSI systems.

A.6.2 Step 2: Configure SCSI Node IDs

This section describes how to configure SCSI node and device IDs. SCSI IDs must be assigned separately for multihost SCSI buses and single-host SCSI buses.

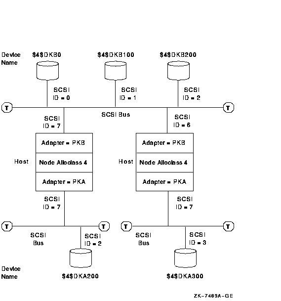
Figure A-12 shows two hosts; each one is configured with a single-host SCSI bus and shares a multihost SCSI bus. (See Figure A-1 for the key to the symbols used in this figure.)

Figure A-12 Setting Allocation Classes for SCSI Access


The following sections describe how IDs are assigned in this type of multihost SCSI configuration. For more information about this topic, see OpenVMS Cluster Systems.

A.6.2.1 Configuring Device IDs on Multihost SCSI Buses

When configuring multihost SCSI buses, adhere to the following rules:

A.6.2.2 Configuring Device IDs on Single-Host SCSI Buses

The device ID selection depends on whether you are using a node allocation class or a port allocation class. The following discussion applies to node allocation classes. Refer to OpenVMS Cluster Systems for a discussion of port allocation classes.

In multihost SCSI configurations, device names generated by OpenVMS use the format $allocation_class$DKA300. You set the allocation class using the ALLOCLASS system parameter. OpenVMS generates the controller letter (for example, A, B, C, and so forth) at boot time by allocating a letter to each controller. The unit number (for example, 0, 100, 200, 300, and so forth) is derived from the SCSI device ID.

When configuring devices on single-host SCSI buses that are part of a multihost SCSI configuration, take care to ensure that the disks connected to the single-host SCSI buses have unique device names. Do this by assigning different IDs to devices connected to single-host SCSI buses with the same controller letter on systems that use the same allocation class. Note that the device names must be different, even though the bus is not shared.

For example, in Figure A-12, the two disks at the bottom of the picture are located on SCSI bus A of two systems that use the same allocation class. Therefore, they have been allocated different device IDs (in this case, 2 and 3).

For a given allocation class, SCSI device type, and controller letter (in this example, $4$DKA), there can be up to eight devices in the cluster, one for each SCSI bus ID. To use all eight IDs, it is necessary to configure a disk on one SCSI bus at the same ID as a processor on another bus. See Section A.7.5 for a discussion of the possible performance impact this can have.

SCSI bus IDs can be effectively "doubled up" by configuring different SCSI device types at the same SCSI ID on different SCSI buses. For example, device types DK and MK could produce $4$DKA100 and $4$MKA100.

A.6.3 Step 3: Power Up and Verify SCSI Devices

After connecting the SCSI cables, power up the system. Enter a console SHOW DEVICE command to verify that all devices are visible on the SCSI interconnect.

If there is a SCSI ID conflict, the display may omit devices that are present, or it may include nonexistent devices. If the display is incorrect, then check the SCSI ID jumpers on devices, the automatic ID assignments provided by the StorageWorks shelves, and the console settings for host adapter and HSZxx controller IDs. If changes are made, type INIT, then SHOW DEVICE again. If problems persist, check the SCSI cable lengths and termination.

Example A-1 is a sample output from a console SHOW DEVICE command. This system has one host SCSI adapter on a private SCSI bus (PKA0), and two additional SCSI adapters (PKB0 and PKC0), each on separate, shared SCSI buses.

Example A-1 SHOW DEVICE Command Sample Output

>>>SHOW DEVICE 
dka0.0.0.6.0               DKA0                          RZ26L  442D 
dka400.4.0.6.0             DKA400                        RRD43  2893 
dkb100.1.0.11.0            DKB100                        RZ26  392A 
dkb200.2.0.11.0            DKB200                        RZ26L  442D 
dkc400.4.0.12.0            DKC400                        HSZ40   V25 
dkc401.4.0.12.0            DKC401                        HSZ40   V25 
dkc500.5.0.12.0            DKC500                        HSZ40   V25 
dkc501.5.0.12.0            DKC501                        HSZ40   V25 
dkc506.5.0.12.0            DKC506                        HSZ40   V25 
dva0.0.0.0.1               DVA0 
jkb700.7.0.11.0            JKB700                        OpenVMS  V62 
jkc700.7.0.12.0            JKC700                        OpenVMS  V62 
mka300.3.0.6.0             MKA300                        TLZ06  0389 
era0.0.0.2.1               ERA0                          08-00-2B-3F-3A-B9 
pka0.7.0.6.0               PKA0                          SCSI Bus ID 7 
pkb0.6.0.11.0              PKB0                          SCSI Bus ID 6 
pkc0.6.0.12.0              PKC0                          SCSI Bus ID 6 
 

The following list describes the device names in the preceding example:

A.6.4 Step 4: Show and Set SCSI Console Parameters

When creating a SCSI OpenVMS Cluster system, you need to verify the settings of the console environment parameters shown in Table A-6 and, if necessary, reset their values according to your configuration requirements.

Table A-6 provides a brief description of SCSI console parameters. Refer to your system-specific documentation for complete information about setting these and other system parameters.

Note

The console environment parameters vary, depending on the host adapter type. Refer to the Installation and User's Guide for your adapter.

Table A-6 SCSI Environment Parameters
Parameter Description
bootdef_dev device_name Specifies the default boot device to the system.
boot_osflags root_number, bootflag The boot_osflags variable contains information that is used by the operating system to determine optional aspects of a system bootstrap (for example, conversational bootstrap).
pk*0_disconnect Allows the target to disconnect from the SCSI bus while the target acts on a command. When this parameter is set to 1, the target is allowed to disconnect from the SCSI bus while processing a command. When the parameter is set to 0, the target retains control of the SCSI bus while acting on a command.
pk*0_fast Enables SCSI adapters to perform in fast SCSI mode. When this parameter is set to 1, the default speed is set to fast mode; when the parameter is 0, the default speed is standard mode.
pk*0_host_id Sets the SCSI device ID of host adapters to a value between 0 and 7.
scsi_poll Enables console polling on all SCSI interconnects when the system is halted.
control_scsi_term Enables and disables the terminator on the integral SCSI interconnect at the system bulkhead (for some systems).

Note

If you need to modify any parameters, first change the parameter (using the appropriate console SET command). Then enter a console INIT command or press the Reset button to make the change effective.

Examples

Before setting boot parameters, display the current settings of these parameters, as shown in the following examples:


  1. >>>SHOW *BOOT* 
     
    boot_osflags            10,0 
    boot_reset              OFF 
    bootdef_dev             dka200.2.0.6.0 
    >>> 
    

    The first number in the boot_osflags parameter specifies the system root. (In this example, the first number is 10.) The boot_reset parameter controls the boot process. The default boot device is the device from which the OpenVMS operating system is loaded. Refer to the documentation for your specific system for additional booting information.
    Note that you can identify multiple boot devices to the system. By doing so, you cause the system to search for a bootable device from the list of devices that you specify. The system then automatically boots from the first device on which it finds bootable system software. In addition, you can override the default boot device by specifying an alternative device name on the boot command line.
    Typically, the default boot flags suit your environment. You can override the default boot flags by specifying boot flags dynamically on the boot command line with the -flags option.


  2. >>>SHOW *PK* 
     
    pka0_disconnect         1 
    pka0_fast               1 
    pka0_host_id            7 
    

    The pk*0_disconnect parameter determines whether or not a target is allowed to disconnect from the SCSI bus while it acts on a command. On a multihost SCSI bus, the pk*0_disconnect parameter must be set to 1, so that disconnects can occur.
    The pk*0_fast parameter controls whether fast SCSI devices on a SCSI controller perform in standard or fast mode. When the parameter is set to 0, the default speed is set to standard mode; when the pk*0_fast parameter is set to 1, the default speed is set to fast SCSI mode. In this example, devices on SCSI controller pka0 are set to fast SCSI mode. This means that both standard and fast SCSI devices connected to this controller will automatically perform at the appropriate speed for the device (that is, in either fast or standard mode).
    The pk*0_host_id parameter assigns a bus node ID for the specified host adapter. In this example, pka0 is assigned a SCSI device ID of 7.


  3. >>>SHOW *POLL* 
    scsi_poll               ON 
    

    Enables or disables polling of SCSI devices while in console mode.
    Set polling ON or OFF depending on the needs and environment of your site. When polling is enabled, the output of the SHOW DEVICE is always up to date. However, because polling can consume SCSI bus bandwidth (proportional to the number of unused SCSI IDs), you might want to disable polling if one system on a multihost SCSI bus will be in console mode for an extended time.
    Polling must be disabled during any hot-plugging operations. For information about hot plugging in a SCSI OpenVMS Cluster environment, see Section A.7.6.


  4. >>>SHOW *TERM* 
    control_scsi_term       external 
    

    Used on some systems (such as the AlphaStation 400) to enable or disable the SCSI terminator next to the external connector. Set the control_scsi_term parameter to external if a cable is attached to the bulkhead. Otherwise, set the parameter to internal.

A.6.5 Step 5: Install the OpenVMS Operating System

Refer to the OpenVMS Alpha or VAX upgrade and installation manual for information about installing the OpenVMS operating system. Perform the installation once for each system disk in the OpenVMS Cluster system. In most configurations, there is a single system disk. Therefore, you need to perform this step once, using any system.

During the installation, when you are asked if the system is to be a cluster member, answer Yes. Then, complete the installation according to the guidelines provided in OpenVMS Cluster Systems.

A.6.6 Step 6: Configure Additional Systems

Use the CLUSTER_CONFIG command procedure to configure additional systems. Execute this procedure once for the second host that you have configured on the SCSI bus. (See Section A.7.1 for more information.)

A.7 Supplementary Information

The following sections provide supplementary technical detail and concepts about SCSI OpenVMS Cluster systems.

A.7.1 Running the OpenVMS Cluster Configuration Command Procedure

You execute either the CLUSTER_CONFIG.COM or the CLUSTER_CONFIG_LAN.COM command procedure to set up and configure nodes in your OpenVMS Cluster system. Your choice of command procedure depends on whether you use DECnet or the LANCP utility for booting. CLUSTER_CONFIG.COM uses DECnet; CLUSTER_CONFIG_LAN.COM uses the LANCP utility. (For information about using both procedures, see OpenVMS Cluster Systems.)

Typically, the first computer is set up as an OpenVMS Cluster system during the initial OpenVMS installation procedure (see Section A.6.5). The CLUSTER_CONFIG procedure is then used to configure additional nodes. However, if you originally installed OpenVMS without enabling clustering, the first time you run CLUSTER_CONFIG, the procedure converts the standalone system to a cluster system.

To configure additional nodes in a SCSI cluster, execute CLUSTER_CONFIG.COM for each additional node. Table A-7 describes the steps to configure additional SCSI nodes.

Table A-7 Steps for Installing Additional Nodes
Step Procedure
1 From the first node, run the CLUSTER_CONFIG.COM procedure and select the default option [1] for ADD.
2 Answer Yes when CLUSTER_CONFIG.COM asks whether you want to proceed.
3 Supply the DECnet name and address of the node that you are adding to the existing single-node cluster.
4 Confirm that this will be a node with a shared SCSI interconnect.
5 Answer No when the procedure asks whether this node will be a satellite.
6 Configure the node to be a disk server if it will serve disks to other cluster members.
7 Place the new node's system root on the default device offered.
8 Select a system root for the new node. The first node uses SYS0. Take the default (SYS10 for the first additional node), or choose your own root numbering scheme. You can choose from SYS1 to SYS n, where n is hexadecimal FFFF.
9 Select the default disk allocation class so that the new node in the cluster uses the same ALLOCLASS as the first node.
10 Confirm whether or not there is a quorum disk.
11 Answer the questions about the sizes of the page file and swap file.
12 When CLUSTER_CONFIG.COM completes, boot the new node from the new system root. For example, for SYSFF on disk DKA200, enter the following command:
 BOOT -FL FF,0 DKA200

In the BOOT command, you can use the following flags:

  • -FL indicates boot flags.
  • FF is the new system root.
  • 0 means there are no special boot requirements, such as conversational boot.

You can run the CLUSTER_CONFIG.COM procedure to set up an additional node in a SCSI cluster, as shown in Example A-2.

Example A-2 Adding a Node to a SCSI Cluster

$ @SYS$MANAGER:CLUSTER_CONFIG 
 
           Cluster Configuration Procedure 
 
 
    Use CLUSTER_CONFIG.COM to set up or change an OpenVMS Cluster configuration. 
    To ensure that you have the required privileges, invoke this procedure 
    from the system manager's account. 
 
    Enter ? for help at any prompt. 
 
            1. ADD a node to a cluster. 
            2. REMOVE a node from the cluster. 
            3. CHANGE a cluster member's characteristics. 
            4. CREATE a duplicate system disk for CLU21. 
            5. EXIT from this procedure. 
 
    Enter choice [1]: 
 
    The ADD function adds a new node to a cluster. 
 
    If the node being added is a voting member, EXPECTED_VOTES in 
    every cluster member's MODPARAMS.DAT must be adjusted, and the 
    cluster must be rebooted. 
 
 
    WARNING - If this cluster is running with multiple system disks and 
              if common system files will be used, please, do not 
              proceed unless you have defined appropriate logical 
              names for cluster common files in SYLOGICALS.COM. 
              For instructions, refer to the OpenVMS Cluster Systems 
              manual. 
 
 
              Do you want to continue [N]? y 
 
    If the new node is a satellite, the network databases on CLU21 are 
    updated. The network databases on all other cluster members must be 
    updated. 
 
    For instructions, refer to the OpenVMS Cluster Systems manual. 
 
What is the node's DECnet node name? SATURN 
What is the node's DECnet node address? 7.77 
Is SATURN to be a clustered node with a shared SCSI bus (Y/N)? y 
Will SATURN be a satellite [Y]? N 
Will SATURN be a boot server [Y]? 
 
    This procedure will now ask you for the device name of SATURN's system root. 
    The default device name (DISK$BIG_X5T5:) is the logical volume name of 
    SYS$SYSDEVICE:. 
 
What is the device name for SATURN's system root [DISK$BIG_X5T5:]? 
What is the name of SATURN's system root [SYS10]? SYS2 
    Creating directory tree SYS2 ... 
    System root SYS2 created 
 
    NOTE: 
        All nodes on the same SCSI bus must be members of the same cluster 
        and must all have the same non-zero disk allocation class or each 
        will have a different name for the same disk and data corruption 
        will result. 
 
Enter a value for SATURN's ALLOCLASS parameter [7]: 
Does this cluster contain a quorum disk [N]? 
Updating network database... 
Size of pagefile for SATURN [10000 blocks]? 
   .
   .
   .

A.7.2 Error Reports and OPCOM Messages in Multihost SCSI Environments

Certain common operations, such as booting or shutting down a host on a multihost SCSI bus, can cause other hosts on the SCSI bus to experience errors. In addition, certain errors that are unusual in a single-host SCSI configuration may occur more frequently on a multihost SCSI bus.

These errors are transient errors that OpenVMS detects, reports, and recovers from without losing data or affecting applications that are running. This section describes the conditions that generate these errors and the messages that are displayed on the operator console and entered into the error log.


Previous Next Contents Index

  [Go to the documentation home page] [How to order documentation] [Help on this site] [How to contact us]  
  privacy and legal statement  
6318PRO_019.HTML