Document revision date: 28 June 1999
[Compaq] [Go to the documentation home page] [How to order documentation] [Help on this site] [How to contact us]
[OpenVMS documentation]
OpenVMS Alpha Guide to 64-Bit Addressing and VLM Features

OpenVMS Alpha Guide to 64-Bit Addressing and VLM Features

Order Number: AA--QSBCC--TE


January 1998

This manual describes the OpenVMS Alpha support for 64-bit virtual addressing and Very Large Memory (VLM).

Revision/Update Information: This manual supersedes the OpenVMS Alpha Guide to 64-Bit Addressing and VLM Features, Version 7.1.

Software Version: OpenVMS Alpha Version 7.2

Compaq Computer Corporation
Houston, Texas


January 1999

Compaq Computer Corporation makes no representations that the use of its products in the manner described in this publication will not infringe on existing or future patent rights, nor do the descriptions contained in this publication imply the granting of licenses to make, use, or sell equipment or software in accordance with the description.

Possession, use, or copying of the software described in this publication is authorized only pursuant to a valid written license from Compaq or an authorized sublicensor.

Compaq conducts its business in a manner that conserves the environment and protects the safety and health of its employees, customers, and the community.

© Compaq Computer Corporation 1999. All rights reserved.

The following are trademarks of Compaq Computer Corporation: Alpha, Bookreader, Compaq, DEC, DECdirect, DECnet, DIGITAL, DIGITAL UNIX, OpenVMS, VAX, VAX DOCUMENT, VAXcluster, VMS, VMScluster, and the Compaq logo.

UNIX is a registered trademark in the United States and other countries, licensed exclusively through X/Open Company, Ltd.

All other trademarks and registered trademarks are the property of their respective holders.

ZK6467

The OpenVMS documentation set is available on CD-ROM.

This document was prepared using VAX DOCUMENT, Version V3.2n.

Contents Index


Preface

This guide describes the 64-bit virtual addressing and Very Large Memory (VLM) support provided in OpenVMS Alpha Version 7.2.

The information in this document applies only to applications on OpenVMS Alpha systems; applications on OpenVMS VAX systems are not affected.

Intended Audience

The information in this guide is intended for system and application programmers. It presumes that its readers are familiar with the OpenVMS Alpha programming environment and concepts.

Document Structure

Chapter 1 briefly describes OpenVMS Alpha 64-bit addressing support and VLM features.

Chapter 2 presents an overview of the OpenVMS Alpha 64-bit virtual memory address space.

Chapters 3 through 12 describe the OpenVMS Alpha programming tools and languages that support 64-bit addressing and VLM.

The appendixes contain macro descriptions and programming examples.

Related Documents

This guide provides high-level descriptions of some of the topics covered in the following manuals; refer to these books for more detailed information:

For additional information on the Open Systems Software Group (OSSG) products and services, access the following OpenVMS World Wide Web address:


http://www.openvms.digital.com 

Reader's Comments

Compaq welcomes your comments on this manual.

Print or edit the online form SYS$HELP:OPENVMSDOC_COMMENTS.TXT and send us your comments by:
Internet openvmsdoc@zko.mts.dec.com
Fax 603 884-0120, Attention: OSSG Documentation, ZKO3-4/U08
Mail Compaq Computer Corporation
OSSG Documentation Group, ZKO3-4/U08
110 Spit Brook Rd.
Nashua, NH 03062-2698

How to Order Additional Documentation

Use the following World Wide Web address to order additional documentation:


http://www.openvms.digital.com:81/ 

If you need help deciding which documentation best meets your needs, call 800-DIGITAL (800-344-4825).

Conventions

The following conventions are used in this manual:
Ctrl/ x A sequence such as Ctrl/ x indicates that you must hold down the key labeled Ctrl while you press another key or a pointing device button.
PF1 x A sequence such as PF1 x indicates that you must first press and release the key labeled PF1 and then press and release another key or a pointing device button.
[Return] In examples, a key name enclosed in a box indicates that you press a key on the keyboard. (In text, a key name is not enclosed in a box.)

In the HTML version of this document, this convention appears as brackets, rather than a box.

... A horizontal ellipsis in examples indicates one of the following possibilities:
  • Additional optional arguments in a statement have been omitted.
  • The preceding item or items can be repeated one or more times.
  • Additional parameters, values, or other information can be entered.
.
.
.
A vertical ellipsis indicates the omission of items from a code example or command format; the items are omitted because they are not important to the topic being discussed.
( ) In command format descriptions, parentheses indicate that you must enclose the options in parentheses if you choose more than one.
[ ] In command format descriptions, brackets indicate optional elements. You can choose one, none, or all of the options. (Brackets are not optional, however, in the syntax of a directory name in an OpenVMS file specification or in the syntax of a substring specification in an assignment statement.)
[|] In command format descriptions, vertical bars separating items inside brackets indicate that you choose one, none, or more than one of the options.
{ } In command format descriptions, braces indicate required elements; you must choose one of the options listed.
bold text This text style represents the introduction of a new term or the name of an argument, an attribute, or a reason.
italic text Italic text indicates important information, complete titles of manuals, or variables. Variables include information that varies in system output (Internal error number), in command lines (/PRODUCER= name), and in command parameters in text (where dd represents the predefined code for the device type).
UPPERCASE TEXT Uppercase text indicates a command, the name of a routine, the name of a file, or the abbreviation for a system privilege.
Monospace type Monospace text indicates code examples and interactive screen displays.

In the C programming language, monospace type in text identifies the following elements: keywords, the names of independently compiled external functions and files, syntax summaries, and references to variables or identifiers introduced in an example.

- A hyphen at the end of a command format description, command line, or code line indicates that the command or statement continues on the following line.
numbers All numbers in text are assumed to be decimal unless otherwise noted. Nondecimal radixes---binary, octal, or hexadecimal---are explicitly indicated.


Chapter 1
Introduction

As of Version 7.0, the OpenVMS Alpha operating system provides support for 64-bit virtual memory addressing. This capability makes the 64-bit virtual address space, defined by the Alpha architecture, available to the OpenVMS Alpha operating system and to application programs. OpenVMS Alpha Version 7.1 provided extended, additional memory management Very Large Memory (VLM) features.

This chapter highlights the features and benefits of OpenVMS Alpha 64-bit and VLM capabilities. The remaining chapters in this guide describe how you can use these features to enhance application programs to support 64-bit addresses and to efficiently harness very large physical memory.

1.1 Using 64-Bit Addresses

Many OpenVMS Alpha tools and languages (including the Debugger, run-time library routines, and DEC C) support 64-bit virtual addressing. Input and output operations can be performed directly to and from the 64-bit addressable space by means of RMS services, the $QIO system service, and most of the device drivers supplied with OpenVMS Alpha systems.

Underlying this are system services that allow an application to allocate and manage the 64-bit virtual address space, which is available for process-private use.

By using the OpenVMS Alpha tools and languages that support 64-bit addressing, programmers can create images that map and access data beyond the limits of 32-bit virtual addresses. The 64-bit virtual address space design ensures upward compatibility of programs that execute under versions of OpenVMS Alpha prior to Version 7.0, while providing a flexible framework that allows 64-bit addresses to be used in many different ways to solve new problems.

Nonprivileged programs can optionally be modified to take advantage of 64-bit addressing features. OpenVMS Alpha 64-bit virtual addressing does not affect nonprivileged programs that are not explicitly modified to exploit 64-bit support. Binary and source compatibility of existing 32-bit nonprivileged programs is guaranteed.

By using 64-bit addressing capabilities, application programs can map large amounts of data into memory to provide high levels of performance and make use of very large memory (VLM) systems. In addition, 64-bit addressing allows for more efficient use of system resources, allowing for larger user processes, as well as higher numbers of users and client/server processes for virtually unlimited scalability.

1.2 Using VLM Features

OpenVMS Alpha VLM features for memory management provide extended support for database, data warehouse, and other very large database (VLDB) products. The VLM features enable database products and data warehousing applications to realize increased capacity and performance gains.

By using the extended VLM features, application programs can create large in-memory global data caches that do not require an increase in process quotas. These large memory-resident global sections can be mapped with shared global pages to dramatically reduce the system overhead required to map large amounts of memory.

For more information about taking advantage of these VLM features, see Chapter 4.


Chapter 2
Overview of Virtual Address Space

This chapter describes the layout and components of the OpenVMS Alpha 64-bit virtual memory address space.

For more information about the OpenVMS Alpha programming tools and languages that support 64-bit addressing and recommendations for enhancing applications to support 64-bit addressing and VLM, refer to the subsequent chapters in this guide.

2.1 Traditional OpenVMS 32-Bit Virtual Address Space Layout

In previous versions of the OpenVMS Alpha operating system, the virtual address space layout was largely based upon the 32-bit virtual address space defined by the VAX architecture. Figure 2-1 illustrates the OpenVMS Alpha implementation of the OpenVMS VAX layout.

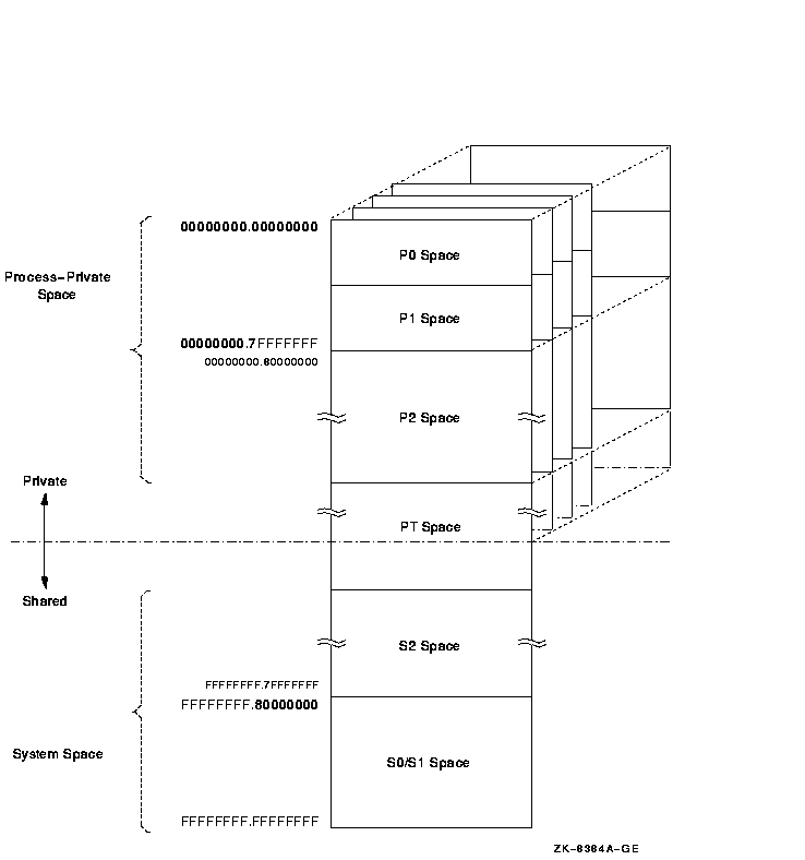
Figure 2-1 32-Bit Virtual Address Space Layout


The lower half of the OpenVMS VAX virtual address space (addresses between 0 and 7FFFFFFF16) is called process-private space. This space is further divided into two equal pieces called P0 space and P1 space. Each space is 1 GB long. The P0 space range is from 0 to 3FFFFFFF16. P0 space starts at location 0 and expands toward increasing addresses. The P1 space range is from 4000000016 to 7FFFFFFF16. P1 space starts at location 7FFFFFFF16 and expands toward decreasing addresses.

The upper half of the VAX virtual address space is called system space. The lower half of system space (the addresses between 8000000016 and BFFFFFFF16) is called S0 space. S0 space begins at 8000000016 and expands toward increasing addresses.

The VAX architecture associates a page table with each region of virtual address space. The processor translates system space addresses using the system page table. Each process has its own P0 and P1 page tables. A VAX page table does not map the full virtual address space possible; instead, it maps only the part of its region that has been created.

2.2 OpenVMS Alpha 64-Bit Virtual Address Space Layout

The OpenVMS Alpha 64-bit address space layout is an extension of the traditional OpenVMS 32-bit address space layout.

Figure 2-2 illustrates the 64-bit virtual address space layout design.

Figure 2-2 64-Bit Virtual Address Space Layout


The 64-bit virtual address space layout is designed to accommodate the current and future needs of the OpenVMS Alpha operating system and its users. The new address space consists of the following fundamental areas:

2.2.1 Process-Private Space

Supporting process-private address space is a focus of much of the memory management design within the OpenVMS operating system.

Process-private space, or process space, contains all virtual addresses below PT space. As shown in Figure 2-2, the layout of process space is further divided into the P0, P1, and P2 spaces. P0 space refers to the program region. P1 space refers to the control region. P2 space refers to the 64-bit program region.

The P0 and P1 spaces are defined to equate to the P0 and P1 regions defined by the VAX architecture. Together, they encompass the traditional 32-bit process-private region that ranges from 0.0000000016 to 0.7FFFFFFF16. P2 space encompasses all remaining process space that begins just above P1 space, 0.8000000016, and ends just below the lowest address of PT space.

Note that P2 space addresses can be positive or negative when interpreted as signed 64-bit integers.

2.2.2 System Space

64-bit system space refers to the portion of the entire 64-bit virtual address range that is higher than that which contains PT space. As shown in Figure 2-2, system space is further divided into the S0, S1, and S2 spaces.

The S0 and S1 spaces are defined to equate to the S0 and S1 regions defined by the VAX architecture. Together they encompass the traditional 32-bit system space region that ranges from FFFFFFFF.8000000016 to FFFFFFFF.FFFFFFFF16. S2 space encompasses all remaining system spaces between the highest address of PT space and the lowest address of the combined S0/S1 space.

S0, S1, and S2 are fully shared by all processes. S0/S1 space expands toward increasing virtual addresses. S2 space generally expands toward lower virtual addresses.

Addresses within system space can be created and deleted only from code that is executing in kernel mode. However, page protection for system space pages can be set up to allow any less privileged access mode read and/or write access.

System space base is controlled by the S2_SIZE system parameter. S2_SIZE is the number of megabytes to reserve for S2 space. The default value is based on the sizes required by expected consumers of 64-bit (S2) system space. Consumers set up by OpenVMS at boot time are the page frame number (PFN) database and the global page table. (For more information about setting system parameters with SYSGEN, see the OpenVMS System Management Utilities Reference Manual: M--Z.)

The global page table, also known as the GPT, and the PFN database reside in the lowest-addressed portion of S2 space. By moving the GPT and PFN database to S2 space, the size of these areas is no longer constrained to a small portion of S0/S1 space. This allows OpenVMS to support much larger physical memories and much larger global sections.

2.2.3 Page Table Space

In versions of OpenVMS Alpha prior to Version 7.0, page table space (also known as PT space) was addressable in more than one way. The PALcode translation buffer miss handler used addresses starting at 2.0000000016 to read PTEs, while memory management code addressed the page tables primarily within the traditional 32-bit system space. The process page tables were within the process header (PHD), and the system space page tables were located in the highest virtual addresses, all within the traditional 32-bit system space.

As of OpenVMS Alpha Version 7.0, page tables are addressed primarily within 64-bit PT space. Page tables refer to this virtual address range; they are no longer in 32-bit shared system address space.

The dotted line in Figure 2-2 marks the boundary between process-private space and shared space. This boundary is in PT space and further serves as the boundary between the process-private page table entries and the shared page table entries. Together, these sets of entries map the entire address space available to a given process. PT space is mapped to the same virtual address for each process, typically a very high address such as FFFFFFFC.0000000016.

2.2.4 Virtual Address Space Size

The Alpha architecture supports 64-bit addresses. OpenVMS Alpha Version 7.0 dramatically increased the total amount of virtual address space from 4 GB (gigabytes) to the 8 TB (terabytes) supported by the current Alpha architecture implementations.

The Alpha architecture requires that all implementations must use or check all 64 bits of a virtual address during the translation of a virtual address into a physical memory address. However, implementations of the Alpha architecture are allowed to materialize a subset of the virtual address space. Current Alpha hardware implementations support 43 significant bits within a 64-bit virtual address. This results in an 8-TB address space.

On current Alpha architecture implementations, bit 42 within a virtual address must be sign-extended or propagated through bit 63 (the least significant bit is numbered from 0). Virtual addresses where bits 42 through 63 are not all zeros or all ones result in an access violation when referenced. Therefore, the valid 8-TB address space is partitioned into two disjoint 4-TB ranges separated by a no access range in the middle.

The layout of the OpenVMS Alpha address space transparently places this no access range within P2 space. (The OpenVMS Alpha memory management system services always return virtually contiguous address ranges.) The result of the OpenVMS Alpha address space layout design is that valid addresses in P2 space can be positive or negative values when interpreted as signed 64-bit integers.

Note that to preserve 32-bit nonprivileged code compatibility, bit 31 in a valid 32-bit virtual address can still be used to distinguish an address in P0/P1 space from an address in S0/S1 space.

2.3 Virtual Regions

A virtual region is a reserved range of process-private virtual addresses. It may be either a user-defined virtual region reserved by the user program at run time or a process-permanent virtual region reserved by the system on behalf of the process during process creation.

Three process-permanent virtual regions are defined by OpenVMS at the time the process is created:

These three process-permanent virtual regions exist so that programmers do not have to create virtual regions if their application does not need to reserve additional ranges of address space.

Virtual regions promote modularity within applications by allowing different components of the application to manipulate data in different virtual regions. When a virtual region is created, the caller of the service is returned a region ID to identify that virtual region. The region ID is used when creating, manipulating, and deleting virtual addresses within that region. Different components within an application can create separate virtual regions so that their use of virtual memory does not conflict.

Virtual regions exhibit the following characteristics.


Next Contents Index

  [Go to the documentation home page] [How to order documentation] [Help on this site] [How to contact us]  
  privacy and legal statement  
6467PRO.HTML